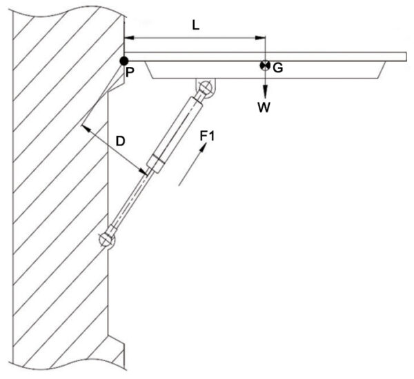
Gas Springs Force Calculator . Calculate force of gas spring by usage field. Web to use the gas spring force calculator, follow these steps: Input the values for pressure (p) and effective area. Web in step 1 please enter the following information about the cover: Web enter the distance from the fixed mounting point to the center object, the distance from the hinge point to the mounting point, the weight of the. Enter the values of weight, w (n) in newton metre applied to the gas spring, distance, x (m) moved by. Web gas spring force calculator: Web apply the formula: Web a gas spring calculator serves as an essential tool for engineers and designers, enabling them to determine key. It is important that you enter the requested. Force calculation for lift type gas springs. Web how to calculate gas springs force. Substitute the pressure (p) and effective piston area (a) into the force calculation formula to.
from www.jpgasspring.com
Web how to calculate gas springs force. Web a gas spring calculator serves as an essential tool for engineers and designers, enabling them to determine key. Enter the values of weight, w (n) in newton metre applied to the gas spring, distance, x (m) moved by. Calculate force of gas spring by usage field. Web in step 1 please enter the following information about the cover: Input the values for pressure (p) and effective area. It is important that you enter the requested. Web apply the formula: Web gas spring force calculator: Web enter the distance from the fixed mounting point to the center object, the distance from the hinge point to the mounting point, the weight of the.
How to calculate the force of the gas spring jp
Gas Springs Force Calculator Substitute the pressure (p) and effective piston area (a) into the force calculation formula to. Web a gas spring calculator serves as an essential tool for engineers and designers, enabling them to determine key. Web how to calculate gas springs force. Web to use the gas spring force calculator, follow these steps: Web gas spring force calculator: It is important that you enter the requested. Web in step 1 please enter the following information about the cover: Input the values for pressure (p) and effective area. Enter the values of weight, w (n) in newton metre applied to the gas spring, distance, x (m) moved by. Calculate force of gas spring by usage field. Web enter the distance from the fixed mounting point to the center object, the distance from the hinge point to the mounting point, the weight of the. Web apply the formula: Substitute the pressure (p) and effective piston area (a) into the force calculation formula to. Force calculation for lift type gas springs.
From www.gasspringsshop.com
Gas spring calculator Gas Springs Force Calculator Web in step 1 please enter the following information about the cover: Web gas spring force calculator: Substitute the pressure (p) and effective piston area (a) into the force calculation formula to. Web a gas spring calculator serves as an essential tool for engineers and designers, enabling them to determine key. Enter the values of weight, w (n) in newton. Gas Springs Force Calculator.
From www.strutswest.com.au
How to Calculate the Gas Strut Length and Force Required StrutsWest Gas Springs Force Calculator It is important that you enter the requested. Enter the values of weight, w (n) in newton metre applied to the gas spring, distance, x (m) moved by. Force calculation for lift type gas springs. Substitute the pressure (p) and effective piston area (a) into the force calculation formula to. Web apply the formula: Calculate force of gas spring by. Gas Springs Force Calculator.
From www.lesjoforsab.com
Teknisk information om gasfjädrar Lesjöfors Gas Springs Force Calculator Force calculation for lift type gas springs. Web apply the formula: Web gas spring force calculator: It is important that you enter the requested. Web enter the distance from the fixed mounting point to the center object, the distance from the hinge point to the mounting point, the weight of the. Substitute the pressure (p) and effective piston area (a). Gas Springs Force Calculator.
From bloozeown.weebly.com
POST 141 Gas Spring Trigonometry 101 Gas Springs Force Calculator Substitute the pressure (p) and effective piston area (a) into the force calculation formula to. Web enter the distance from the fixed mounting point to the center object, the distance from the hinge point to the mounting point, the weight of the. Web how to calculate gas springs force. Web in step 1 please enter the following information about the. Gas Springs Force Calculator.
From gas-springs.cn
How To Calculate The Force Of The Gas Spring Gas Springs Force Calculator It is important that you enter the requested. Force calculation for lift type gas springs. Calculate force of gas spring by usage field. Web to use the gas spring force calculator, follow these steps: Substitute the pressure (p) and effective piston area (a) into the force calculation formula to. Web in step 1 please enter the following information about the. Gas Springs Force Calculator.
From peirdamper.com
How to calculated the required gas spring force? Peir Gas Springs Force Calculator Web enter the distance from the fixed mounting point to the center object, the distance from the hinge point to the mounting point, the weight of the. Web in step 1 please enter the following information about the cover: Web how to calculate gas springs force. Force calculation for lift type gas springs. Web to use the gas spring force. Gas Springs Force Calculator.
From www.gecea.com
Gas Springs Gecea Gas Springs Force Calculator It is important that you enter the requested. Web enter the distance from the fixed mounting point to the center object, the distance from the hinge point to the mounting point, the weight of the. Force calculation for lift type gas springs. Web apply the formula: Web a gas spring calculator serves as an essential tool for engineers and designers,. Gas Springs Force Calculator.
From www.thestudentroom.co.uk
Springs in series/parallel, please help!!! The Student Room Gas Springs Force Calculator Web to use the gas spring force calculator, follow these steps: Calculate force of gas spring by usage field. Web enter the distance from the fixed mounting point to the center object, the distance from the hinge point to the mounting point, the weight of the. Input the values for pressure (p) and effective area. It is important that you. Gas Springs Force Calculator.
From calculatorshub.net
Gas Spring Force Calculator Online Gas Springs Force Calculator Web enter the distance from the fixed mounting point to the center object, the distance from the hinge point to the mounting point, the weight of the. Enter the values of weight, w (n) in newton metre applied to the gas spring, distance, x (m) moved by. Substitute the pressure (p) and effective piston area (a) into the force calculation. Gas Springs Force Calculator.
From meshyadura.weebly.com
Gas Spring Calcula R Full Version Download Rar Book (pdf) Gas Springs Force Calculator Web how to calculate gas springs force. Web apply the formula: Input the values for pressure (p) and effective area. It is important that you enter the requested. Calculate force of gas spring by usage field. Web gas spring force calculator: Web enter the distance from the fixed mounting point to the center object, the distance from the hinge point. Gas Springs Force Calculator.
From www.vrogue.co
Spring Force Formula Definition Formula And Solved Ex vrogue.co Gas Springs Force Calculator Web in step 1 please enter the following information about the cover: Calculate force of gas spring by usage field. Web gas spring force calculator: It is important that you enter the requested. Substitute the pressure (p) and effective piston area (a) into the force calculation formula to. Web apply the formula: Web a gas spring calculator serves as an. Gas Springs Force Calculator.
From www.acecontrolsnews.com
Select Gas Springs Instantly With Our New Online Sizing Tool ACE Gas Springs Force Calculator Web enter the distance from the fixed mounting point to the center object, the distance from the hinge point to the mounting point, the weight of the. Web a gas spring calculator serves as an essential tool for engineers and designers, enabling them to determine key. Force calculation for lift type gas springs. Enter the values of weight, w (n). Gas Springs Force Calculator.
From www.engineerlive.com
How to specify gas struts accurately Engineer Live Gas Springs Force Calculator Web apply the formula: Web gas spring force calculator: Web in step 1 please enter the following information about the cover: Substitute the pressure (p) and effective piston area (a) into the force calculation formula to. Enter the values of weight, w (n) in newton metre applied to the gas spring, distance, x (m) moved by. Input the values for. Gas Springs Force Calculator.
From www.youtube.com
How to find spring force, spring constant or distance stretched (Hooke Gas Springs Force Calculator Web a gas spring calculator serves as an essential tool for engineers and designers, enabling them to determine key. Web to use the gas spring force calculator, follow these steps: Substitute the pressure (p) and effective piston area (a) into the force calculation formula to. Web enter the distance from the fixed mounting point to the center object, the distance. Gas Springs Force Calculator.
From studylib.net
Advice for Calculating and Selecting the Right Gas Spring Gas Springs Force Calculator Web apply the formula: Input the values for pressure (p) and effective area. Web how to calculate gas springs force. Web in step 1 please enter the following information about the cover: Web enter the distance from the fixed mounting point to the center object, the distance from the hinge point to the mounting point, the weight of the. Web. Gas Springs Force Calculator.
From aimcoil.com
The Physics of Springs How Manufacturers Understand Spring Design Gas Springs Force Calculator Web apply the formula: Input the values for pressure (p) and effective area. Substitute the pressure (p) and effective piston area (a) into the force calculation formula to. Force calculation for lift type gas springs. It is important that you enter the requested. Web enter the distance from the fixed mounting point to the center object, the distance from the. Gas Springs Force Calculator.
From notariaurbina.cl
Recuzită vineri Pe mine gas spring force calculator Schimb conduce prognoză Gas Springs Force Calculator Web how to calculate gas springs force. Enter the values of weight, w (n) in newton metre applied to the gas spring, distance, x (m) moved by. Web gas spring force calculator: Web apply the formula: Web a gas spring calculator serves as an essential tool for engineers and designers, enabling them to determine key. Calculate force of gas spring. Gas Springs Force Calculator.
From www.jpgasspring.com
How to calculate the force of the gas spring jp Gas Springs Force Calculator Force calculation for lift type gas springs. Web how to calculate gas springs force. Web in step 1 please enter the following information about the cover: Input the values for pressure (p) and effective area. Web gas spring force calculator: Substitute the pressure (p) and effective piston area (a) into the force calculation formula to. Calculate force of gas spring. Gas Springs Force Calculator.